به گزارش ایسنا، استادان دانشگاه شارجه یک دستگاه اتلاف زلزله را ایجاد کردند که برای مقاومت در برابر نیروهای لرزهای فقط به شن نیاز دارد.
به نقل از آیای، در حالی که دستگاههای متداول اتلاف از فولاد برای کاهش آسیبهای ناشی از زلزله استفاده میکنند، این اختراع منحصربهفرد به طور چشمگیری فقط به شن برای محافظت از ساختمانها در برابر وقایع لرزهای نیاز دارد.
استادان دانشگاه شارجه سیستمی از ظروف پر از شن یا مواد دانهدار دیگر تولید کردند که میتوانند به طور مؤثر و کارآمد وقایع لرزهای را از بین ببرند و از ساختمانها در برابر آسیب محافظت کنند.
این دستگاه به عنوان یک دستگاه اتلاف انرژی نوآورانه که برای سازههای مقاوم در برابر لرزه طراحی شده است، توصیف میشود و میتواند به طور انعطافپذیر در برابر لرزش مقاومت کند. همچنین میتواند سازه را از بادهای کوچک و متوسط یا ارتعاشات قطارها محافظت کند.
پروفسور موسی لبلوبا (Moussa Leblouba) و پروفسور مصطفی زهری (Mostafa Zahri) سیستمهای متعددی را به شکل یک دستگاه ساده به نام «دستگاه اتلاف انرژی مبتنی بر ذرات» اختراع کردند.
پروفسور لبلوبا بیان کرد که مطالعات تجربی نشان داده است که این دستگاه، راندمان اتلاف انرژی و پایداری ساختاری را بهبود بخشیده و آن را به راه حلی قابل دسترس برای پروژههای ساختمانی کم هزینه و مقاومسازی شده تبدیل کرده است.
پروفسور لبلوبا میگوید: کار ما پتانسیل استفاده نشده مواد دانهای طبیعی را برای ارائه راه حلی مقرون به صرفه و قابل اعتماد برای مقاومت لرزهای نشان میدهد. برخلاف سیستمهای معمولی، به هیچ نیروی خارجی نیاز ندارد و بسیار مقرون به صرفه است.
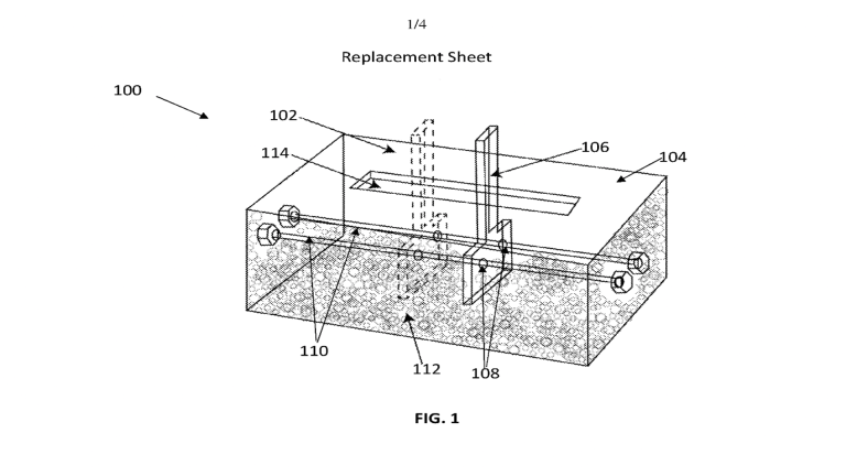
ظرفی که شن و ماسه در آن قرار دارد، میتواند با هر اندازه و شکلی سازگار شود و شامل دست کم یک صفحه متحرک ساخته شده از فولاد جوش داده شده ضخیم، یک شکاف، حداقل دو حفره و دو میله است.

انتهای پیام












