برف پاک کن لیزری به جای پلاستیکی / ایده جذاب تسلا را ببینیدز

گسترش نیوز دوشنبه 22 شهریور 1400 - 12:41
تسلا می‌خواهد نشان دهد که در خط مقدم نوآوری قرار دارد. از سال ۲۰۱۴، تسلا، سخت‌افزار خودران را به مدل S آورد و پیشگام رانندگی خودکار در مقیاس تولید انبوه شد. اما تسلا روی ایده‌های متنوع دیگری هم سرمایه‌گذاری می‌کند. ازجمله برف‌پاک‌کن لیزری که می‌تواند تحولی جالب در این زمینه باشد.
برف پاک کن لیزری به جای پلاستیکی / ایده جذاب تسلا را ببینیدز

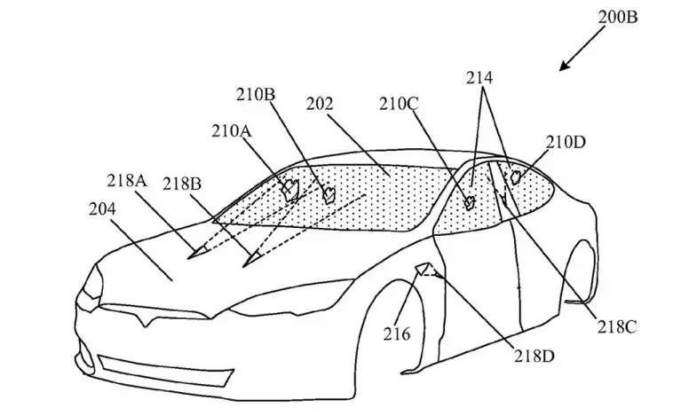
ایده برف‌پاک‌کن لیزری به سال ۲۰۱۹ برمی‌گردد که تسلا درخواست خود برای ثبت آن را ارائه نمود. این یک مجموعه شامل پرتوهای لیزری تابیده شده بر شیشه جلوی خودرو است که می‌تواند کثیفی یا وجود آب روی شیشه در هر نقطه را تشخیص داده و سپس پرتو را روی نقطه کالیبره شده ساطع کند. این نوردهی با سرعت مناسب و البته با عمق نفوذ کمتر از ضخامت شیشه بوده و باعث حذف فیزیکی آلودگی و آب از روی شیشه به روشی ایمن می‌شود.

برف-پاک-کن-لیزری-2

اداره ثبت اختراعات و علائم تجاری ایالات‌متحده بعد از دو سال، این حق اختراع را به تسلا اعطا کرده است. احتمال داده می‌شود نخستین خودرویی که از این فناوری سود ببرد، سایبرتراک باشد زیرا در هنگام رونمایی سایبرتراک، هیچ برف‌پاک‌کنی روی آن وجود نداشت.

البته تسلا روی فناوری الکترومغناطیسی برف‌پاک‌کن‌ها نیز کار می‌کند که گزینه‌ای ساده‌تر و در دسترس‌تر و واقعی‌تر برای توسعه و تولید به نظر می‌آید. به هر صورت شاید به‌زودی به‌جای برف پاک‌های لاستیکی با بازوهای فلزی، گزینه‌های مدرن‌تری را شاهد باشیم.

برف-پاک-کن-لیزری-۱

منبع: پدال

منبع خبر "گسترش نیوز" است و موتور جستجوگر خبر تیترآنلاین در قبال محتوای آن هیچ مسئولیتی ندارد. (ادامه)
با استناد به ماده ۷۴ قانون تجارت الکترونیک مصوب ۱۳۸۲/۱۰/۱۷ مجلس شورای اسلامی و با عنایت به اینکه سایت تیترآنلاین مصداق بستر مبادلات الکترونیکی متنی، صوتی و تصویری است، مسئولیت نقض حقوق تصریح شده مولفان از قبیل تکثیر، اجرا و توزیع و یا هرگونه محتوای خلاف قوانین کشور ایران بر عهده منبع خبر و کاربران است.